suche Antennenschlüssel für Hirschmann Antenne (BMW-E24-Forum)
Hallo,
ich suche den Antennenschlüssel 65221369478 für die Hirschmann Antenne.
so sieht er aus:
![[image]](images/uploaded/202004030550385e86ceae9e411.jpg)
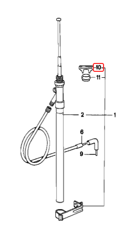
Position 10 in der Grafik:
![[image]](images/uploaded/202004030551365e86cee834da2.png)
Angebote bitte per PM
Gruß Uli
Hallo,
ich suche den Antennenschlüssel 65221369478 für die Hirschmann Antenne.
so sieht er aus:
![[image]](images/uploaded/202004030550385e86ceae9e411.jpg)
Position 10 in der Grafik:
![[image]](images/uploaded/202004030551365e86cee834da2.png)
Angebote bitte per PM
Gruß Uli